2007

Concours pour la Cinémathèque Suisse | concorso in due fasi (rimborso spese)

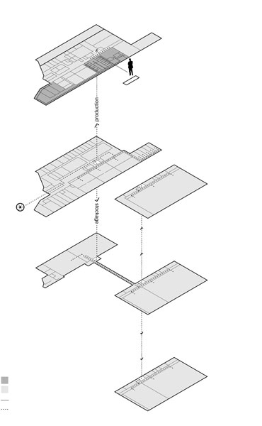
Il progetto si configura come un piano-sequenza, in cui la relazione tra il nuovo edificio e il paesaggio avviene in maniera dinamica e continua senza alcuna interruzione. La percezione non avviene montando singoli quadri, bensì attraverso una continua successione di spazi, interni ed esterni, organizzati e fluidi. Una relazione leggibile nella galleria espositiva di P1 dove la presenza della struttura ritma l'ampia vetrata e restituisce la visione dello spazio esterno come una sequenza, nel giardino frutteto che grazie alla posizione rialzata permette di osservare tutte le componenti del paesaggio a differente scala, negli uffici dove la presenza del bosco costruisce la parete meridionale.

I flussi di circolazione delle merci e dei dipendenti sono chiaramente distinti da quelli dei visitatori: i primi si muovono su tutta la parte meridionale del nuovo P1 e nel P2, completamente interrato, mentre i secondi utilizzano gli spazi disposti sul fronte settentrionale, aperti e visibili dall'esterno. Una nuova “macchina” complessa , dall'aria familiare.

Progettisti

Federico Mentil (capogruppo)

Marco Ragonese (CFCstudio)

Nicola Vignaga

Gaetano Ceschia

Michele De Mattio

Giuliana Raffin

Romana Kacic (paesaggio)

Mauro Cossalter (impianti)

Giuseppe Carniello (strutture)

 

Collaboratori

Vera Bressan

Roberto Moret